近日,从电动汽车垂直媒体Electrek流出的特斯拉“饼干盒”(Biscuit Tin)大圆柱电池照片引爆全球,激起对特斯拉“电池日”的一系列遐想。以特斯拉的全球影响力,“饼干盒”虽未正式发布,内阻超低、成本超低的“无极耳”“大圆柱”俨然将要成为新的行业方向。

比听起来更加重要的“无极耳”技术
特斯拉作为车企最初在电池技术积累较少,只是通过对外采购电池或者合资共建方式保障电池供应。从18650到21700,特斯拉一直都在坚持通过“大圆柱”提升电池能量密度、降低电池成本的策略。然而,无论基于电池安全性亦或其他问题,特斯拉电池核心供应商松下与LG化学迟迟未能突破21700以上的“大圆柱”。

2017年,特斯拉引入Jeff Dahn研究团队后开始全方位从技术、生产工艺布局锂电池领域,2020年1月宣布自建1条电池试验线,2020年5月正式披露“无极耳”电池专利,其核心设计理念是通过正负极集流体与盖板/壳体直接连接,成倍增大电流传导面积、缩短电流传导距离,从而大幅降低电池内阻,减少发热量延长电池寿命,并提高充放电峰值功率;并通过优化电池结构件、简化电池生产工艺流程等,提升电池标准化生产能力、降低电池成本。

正是这项“比听起来更加重要”的无极耳技术,帮助特斯拉快速突破圆柱电池的尺寸限制,并带来内阻大幅减小5-20倍、成本大幅降低至100美元(约合人民币676元)/度等颠覆式成果。然而,“无极耳”电池,“极耳”究竟去哪了?
“无极耳”,极耳去哪了?
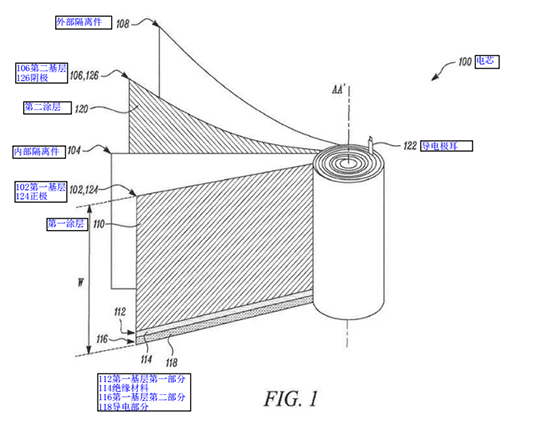
极耳是从电池正负极集流体中引出了的金属导电体,与电池壳体(圆柱/方形)或者与外部模组结构件(软包)进行连接,电流必须流经极耳才能与电池外部连接。根据极耳数量、面积差异极耳可以分为单极耳、双极耳、多极耳以及全极耳等类型,18650或21700电池体积较小,多采用单极耳方式,极耳细长不利于电流传导,电池充放电时极易导致极耳和极耳连接处局部热量过大,成为影响电池安全的关键瓶颈。

根据特斯拉“无极耳”专利分析,极耳与集流体不成比例的导电面积,以及独立、长条形的极耳设计是当前电池的局限性,“当电流必须一直沿着阴极或阳极流到极耳并流出电池单元时,电阻也会随着距离的增加而相应提高。此外,由于极耳是额外的零件,因此增加了成本并带来了制造难度。”
特斯拉“无极耳”专利描述了至少一个电极为无极耳的电池装置,及其制作方法。“无极耳”电极一端通过涂覆导电材料,直接与壳体或专门设计的盖板进行连接,电流直接在电极集流体、盖板、壳体之间进行传导,传导面积大、距离短,特斯拉为此设计了多种规格的盖板结构进行知识产权保护。

然而,详细分析特斯拉“无极耳”卷芯结构可以发现:
(1)“无极耳”卷芯下端一极:集流体末端留白未涂覆正/负极材料,该处集流体部分应统统理解为广义的极耳,国内方形电池生产过程中也多采用直接切割集流体作为极耳与壳体进行连接,特斯拉“无极耳”设计的关键是极耳传导面积与集流体完全一致,甚至通过盖板多样化结构设计使极耳接触面积、传导面积大于集流体传导面积。

(2)“无极耳”卷芯上端一极:若仅采用一个电极无极耳方案,上端仍与18650、21700卷芯设计一样,通过一个导电极耳与外部进行连接。按专利分析,仅一端进行无极耳连接就可以实现内阻减小5倍效果。
特斯拉“无极耳”电池也并非真的没有极耳,而是通过巧妙的结构设计直接利用整个集流体尾部作为极耳,并通过盖板(国内称“集流盘”)结构设计增大极耳传导面积及其连接处的连接面积、缩短极耳传导距离。因此,“无极耳”实质与国内圆柱全极耳电池的设计理念基本一致,都是通过集流体与电池壳体或集流盘的全面积、直接接触式连接,从而达到大幅降低电池内阻的效果,只是“全极耳”的连接形式更为多样化,从某种意义上说特斯拉“无极耳”可以理解为一种特定形式的“全极耳”。
全极耳,中国圆柱全极耳电池发展
国内圆柱全极耳锂离子电池最早在2003年开始萌芽,出现了正负极片单边留白、错位卷绕后形成极耳然后焊接在导电集流盘边缘的结构设计,但由于极耳形态不规则,电池生产工艺复杂,未能转化为实际产品。2009年国内开始有电池企业与装备企业共同投入圆柱全极耳研究,并真正形成了圆柱全极耳初始产品。经过十几年的发展,国内已经形成了圆柱全极耳软连接与硬连接两种主流的连接形式,也有一端采用软连接一端采用硬连接的结合形式;其中软连接方式是汇集电流的集流盘带有一段宽而短的极耳连接壳体,硬连接方式多通过集流盘直接与壳体进行物理接触或机械连接,硬连接方式多属于“无极耳”连接。

从规格和工艺来看,圆柱全极耳电池主要包括:
(1)外壳材质:钢壳,多应用于三元电池;铝壳,多应用于磷酸铁锂、锰酸锂等电池。
(2)封装工艺:机械滚槽与卷边封口,多应用于10AH以下电池;激光焊接,各类电池均有应用。
(3)壳体带电与结构形式:外壳带电,主要包括平底+凸帽、平底+平帽、平底+螺母等形式;外壳不带电,主要包括两端螺母、两端螺柱、两端平帽等形式。

据不完全统计,国内全极耳圆柱电池或无极耳圆柱电池专利主要自2006年开始出现,其中主要以全极耳专利为主、少量无极耳专利,两者专利保护内容的设计理念基本一致。从专利分布来看,国轩高科、格力电器、安靠电源、银隆新能源及装备企业逸飞激光等圆柱全极耳/无极耳专利申报数量较为靠前,宁德时代近期也有相关专利申报。

据动力电池应用分会数据显示,2019中国市场圆柱动力电池装机电量约4.13GWh,占比6.65%,以18650、21700为主的圆柱电池装机量大幅下滑41%,但是主打32135圆柱全极耳电池的国轩高科装机电量约1201.93MWh,同比增长60.55%,由2018年的排名第3上升至2019年第1。
行业数据显示,2020年上半年两轮车圆柱电池价格已接近0.4元~0.5元/Wh的目标价。国内排名靠前的动力电池企业已有多家开始布局圆柱全极耳电池,力神电池、比克电池、远东电池、天能、鹏辉能源等均已相继获得两轮车圆柱电池订单,宁德时代也成立了圆柱电池团队,并规划了多条圆柱产线大举进入共享两轮车市场。

- 最新评论
- 我的评论