
电池新势力希望通过固态电池技术赶超老牌厂商,早日实现 “逆袭”,车企希望通过固态电池重掌主动权,而资本市场也认为固态电池是目前较为确定的具备投资和成长属性的技术,希望赚得盆满钵满。
不同的目的和愿景,都共同押注到了“固态电池”身上。
在资金、研发和车企测试验证持续投入下,固态电池的商业化也正在提速。
01
车企:上汽、宝马、VinFast同时宣布固态电池量产时间
7月6日,上汽集团与清陶(昆山)能源发展股份有限公司(简称“清陶能源”)签约,上汽清陶“固态电池联合实验室”揭牌成立,双方将聚焦1000公里以上长续航固态动力电池量产应用、固态动力电池4C快充技术、高安全长寿命固态动力电池开发、高效率固态动力电池集成技术开发等攻坚项目,合力推动固态电池技术加快量产落地。根据规划,双方合作研发的1000公里以上长续航固态动力电池,将于2023年率先在上汽自主品牌新款车型上实现落地应用。
值得注意的是,上汽此前还投资了固态电池技术研发和生产企业SES。
就在上汽宣布与合作伙伴联合研发固态电池的同日,外媒曝出,宝马汽车计划自产固态电池。据报道,宝马集团将于德国慕尼黑总部附近的帕斯多夫建立固态电池试产线,目前宝马已在该制造中心投资超过1.7亿欧元。根据宝马此前的计划,公司将在2025年前推出应用固态电池的原型车,并在2030年前将该技术应用于量产车型。
不过,宝马并不一定是自己组建完整的固态电池团队。据消息人士透露,宝马固态电池项目或与现有电池合作伙伴共同合作研发,“潜在合作伙伴可能有三星SDI,也包括多家韩国材料及设备供应商,包括CIS、Hana科技、EcoPro BM等。”
实际上,在宣布自研自产固态电池之前,宝马此前曾携手福特,共同投资了美国固态电池公司Solid Power,并计划从Solid Power采购固态电池用于试验车型研发。
越南汽车制造商VinFast也于近日宣布,公司正与中国台湾电池初创公司辉能科技合作开发固态电动汽车电池,最早将于2024年交付。VinFast 表示,该公司还计划与辉能科技在越南建立一家合资电池工厂。VinFast还透露,该公司正在通过其母公司Vingroup向辉能科技投资“数千万美元”,为这家初创企业的固态技术研发提供支持。
除了上汽、宝马、VinFast外,大众、梅赛德斯奔驰、丰田、日产、本田、现代、通用等国际车企均已经在固态电池领域投资,押注固态电池技术。
例如,今年1月,梅赛德斯-奔驰和辉能科技签署了共同开发下一代电池的技术合作协议,并向辉能科技投资数百万欧元。梅赛德斯-奔驰表示,首款配备固态电池车型将于几年后推出,以便在未来搭载在一系列乘用车上。此外,梅赛德斯-奔驰母公司戴姆勒,去年12月还联合Stellantis对固态电池制造商Factorial Energy进行战略投资并与其展开业务合作。
大众汽车早在2018年就曾投资了美国固态电池公司Quantum Scape,2020年又追加了投资。后者计划于2024年建立1GWh试生产线。根据大众汽车的规划,将在2025年或2026年建成其首家全固态电池试点工厂。
今年4月,日产汽车表示计划于2024财年在横滨工厂建立全固态电池试验生产线,在2028年将固态电池推向市场。同月,本田汽车也表示将投资430亿日元为研发中的全固态电池建设展示用的生产线,计划2024年投入运营,将用于2025年以后上市的车型。
丰田汽车也表示,2025年前全固态电池将实现小规模量产并首先搭载在混动车型上,到2030年前丰田汽车全固态电池要实现持续的、稳定量的生产。
另外,在半固态电池方面,目前蔚来汽车、高合汽车都有望在今年年底或明年年初量产相关车型。
02
固态电池专利日韩遥遥领先 国内企业密集布局
据外媒报道,日经新闻与专利调查公司Patent Result合作,调查了中国、日本、韩国、美国和欧洲等10个国家和地区,以及世界知识产权组织等2个机构提出申请的全固态电池相关专利。
据悉,这项研究调查了从2000年到2022年3月底上述10个国家和地区的全固态电池专利申请情况。其中,丰田汽车拥有1331项已知专利排在第1,松下控股拥有445项专利,排在第2;出光兴产拥有272项专利排在第3,三星电子(第4位)。在前10家企业中,6家企业来自日本,4家企业(三星电子、LG化学、现代汽车、LG新能源)来自韩国,日本企业处于领先地位,韩国企业紧随其后。
中国企业也在积极布局固态电池技术专利。据电池中国了解,宁德时代、比亚迪、亿纬锂能、国轩高科、蜂巢能源近些年均布局和申请了不少固态电池技术专利。
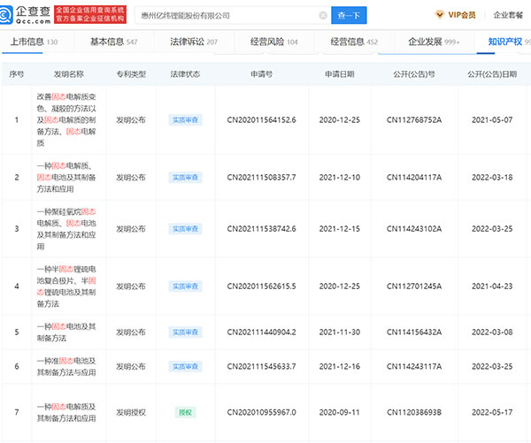
宁德时代部分固态电池专利

据悉,蜂巢能源固态电池和果冻电池(半固态电池)全球专利方面也申请了大量专利。

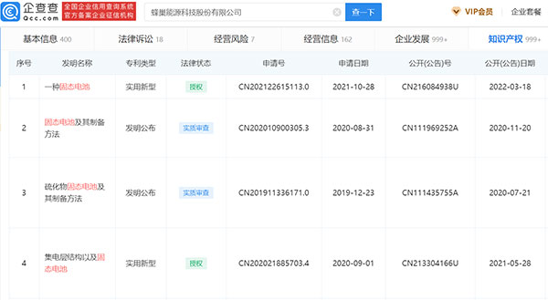
亿纬锂能部分固态电池专利

值得注意的是,今年国内有多家电池企业,在半固态电池领域已经有明显进展,量产装车也即将到来。
今年5月,国轩高科工程研究院总院副院长徐兴无透露,公司研发的单体能量密度高达360Wh/kg,系统能量密度达到260Wh/kg的半固态电池今年将装车,“近期会在工信部发布的新车目录中可以看到公示。”此外,除了360Wh/kg产品今年将量产,公司研发的400Wh/kg的三元半固态电池目前在公司实验室已有原型样品。
赣锋锂业旗下赣锋锂电第一代半固态电池也已经配套东风相关车型量产上市。
另外,蔚来汽车此前透露其搭载半固态电池的ET7相关车型也有望在今年年底上市销售,根据此前相关消息,其半固态电池大概率来自卫蓝新能源。
松下电池、三星SDI、LG新能源等国外老牌电池企业均布局了大量固态电池专利,同时各自也公布了固态电池商业化时间,其中三星SDI正在运营名为“S line”的固态电池试运行线,根据计划,三星SDI计划在2023年前制造出固态电池的原型,并在2025年开始投资;LG新能源的目标是到2026年实现聚合物基全固态电池的商业化。
除了传统老牌电池企业,一些固态电池初创公司也正在积极募集资金,试图通过资本市场来加速固态电池技术的产业化,在下一代电池技术竞争中占据一席之地。

- 最新评论
- 我的评论