
接上文《双极性电极,1000公里续驶里程的助推器?(一)》,聊一下EMBATT里面的提到的双极性电极bipolar electrode。双极性电极的概念由来已久,在锂离子电池上的应用也很久了,单是一直没有被大规模应用。
下图对比了传统锂离子电池(a图)和双极性锂电池(b图,这里是以金属锂和全固态为例)。a图中,每个电池单元unit cell包括了正极(一般涂覆在Al基材)、负极(一般涂覆在Cu基材);b图中,每个电池单元unit cell同样包括了正极、负极,但是正极、负极活性材料共用一个基材:当两个电池单元串联起来时,双极性电极的一侧在当前单元电池作为负极,另一侧在相邻单元电池中是作为正极。

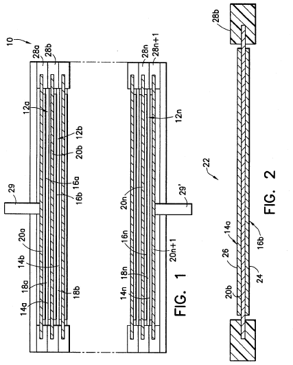
双极性电极的研究早在二、三十年以前就已经出现。例如在20实际九十年代,美国雅迪尼(Yardney)技术公司就对双极锂离子电池展开了研究。双极性电池设计可以将单元电池cell-stack中相邻cell之间的电阻最小化,使得每个双极性cell种的正负极活性涂层表面上的电流和电势达到更加均匀的分布,因此,采用双极性cell构成的电池具有更高的功率特性。下图Fig1是一个典型的由多个双极性电池单元构成的双极性锂离子电池截面图,Fig2是提取出来的其中一个双极性电池单元。其中,12a、12b,…,12n是电池单元;14a、14b,…,14n是电池单元的正极侧;16a、16b,…,16n是电池单元的负极侧;18a、18b,…,18n隔膜;20b、20c,…,20n是集流体(例如,Fig2中的14a和16b共用一个集流体),集流体可采用双金属基材,例如,Cu-Al双金属,负极活性物质涂敷在Cu侧,正极活性物质涂敷在Al侧;24是负极活性物质,26是正极活性物质;28a、28b,…,28n是绝缘性连接固定结构,每个双极性电极通过该连接结构固定起来。在Fig1和Fig2中,一共有n-1个双极性电极(集流体两侧分别有正极、负极活性物质),最上层20a只有负极一侧,另一侧跟负极极柱29相连,最下层20n+1只有正极一侧,另一侧跟正极极柱29相连。

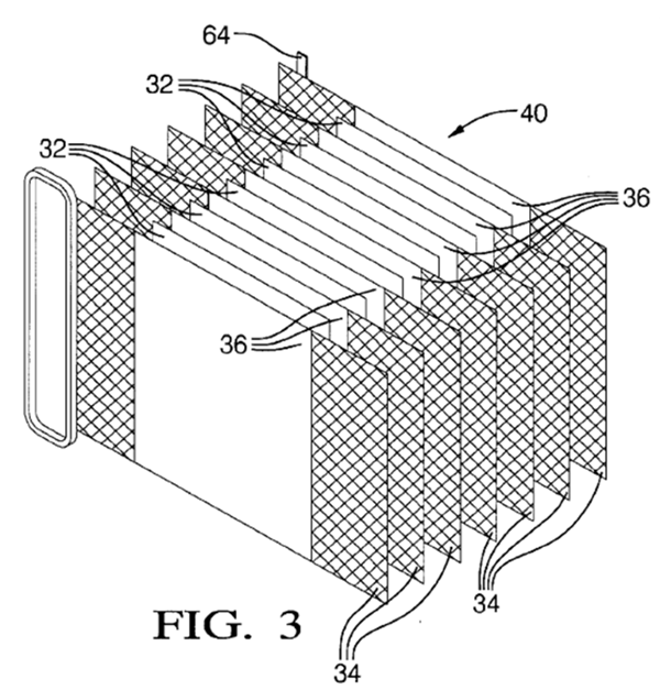
下图Fig3是双极性电极的堆叠stack,可以称之为电堆40。其中,32是隔膜;34是集流体;36是双极性电极,两侧分别是正负极活性物质。基本结构与上面的示例是一样的。

下图是含有三个双极性电极的CR2032钮扣电池。正极是LFP,负极是金属锂,采用准固态聚合物电解质和不锈钢集流体。从电压曲线可以看到,只要改变双极性电极的unit数量,就能改变电池的电压,这里给的分别是1unit、2units、3units的电压曲线。例如,很容易通过5个双极性的unit实现一个12V的锂离子电池,下图右侧是日本东芝公司的一个12V双极性电池的部分截面图,从表1的参数中可以看到,这里正极材料是LiMn0.85Fe0.1Mg0.05PO4,负极材料是LTO,集流体是Al,固态电解质电解质是Li7La3Zr2O12(LLZ)和PAN。从封装方式来看,叠片式软包装是比较适合双极性电池的一种方式。


从上面的结构和数据来看,采用双极性电极结构,很容易就可以实现电池的高压,这比通过将多个电池串联起来实现高电压的方法要更加高效:减少了电池的无效配装空间、降低了连接电阻。相比较如今在开发高电压正极材料上的缓慢进展,双极性电极不失为一种可能的更加快捷的方式来实现电池高电压输出。当然,正如在前面(一)所说的那样,真正的实际应用还需要解决很多生产制造上的问题。

- 最新评论
- 我的评论