
据外媒insideevs报道,近日,特斯拉申请了一项新的专利,该专利为一套新的电池组装方法,其方法是将单个电池并联形成电池子模块,然后再将子模块组装成车辆所需要的动力电池。
特斯拉还为这个组装专利设计了独特的冷却方法,可以使非电解质液体直接经过电池组来降低电池组温度,也可以将散热片装到电池组中降温,还可以用特殊的封装材料来实现降温。
之前动力电池的生产模式基本为电池公司专门制造电池,然后汽车厂商进行组装。在采用了特斯拉的新专利之后,电池厂将可以直接生产电池子模块,能够提升电池生产效率。
一、特斯拉申请电池组装专利 电池可被集成为模块
近日,专利狂魔特斯拉又申请了一项新的专利,这个专利为新的电池组装方法。特斯拉认为可以将单个电池并联起来集成到一块电路板上,这个电路板可以作为电池子模块,然后将电池子模块组装成各种尺寸的电池。

▲特斯拉新专利截图
以往的动力电池过程比较复杂,首先要由电池厂商生产单个电池,然后将单个电池输送给汽车生产商,再由汽车生产商自己组装所需要的动力电池,这个过程比较复杂且费时。
在使用了特斯拉的新专利之后,电池生产商可以直接生产出电池子模块。电池厂商可以将电池集成到一起,电池的平衡性和抗压性都会进一步提升,而且还能在电路板中设置保险丝,这将会提升电池的质量。
这些电池子模块可以进行并联或者串联,能够像拼积木一般生产出各种尺寸的电池。
需要看到的是,在这种生产模式下,制造电池的时候需要大量的电路板,电路板可以用来集成单个电池和密封电池组。
二、特斯拉研发电池冷却系统 三种方法实现降温
更改了电池的组装方法,就意味着也要重新设计电池的冷却系统,特斯拉对此也做了考虑,其设计了三种方法来实现电池冷却。
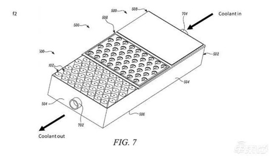
在特斯拉的专利图片中可以看到,特斯拉为电池组设计了两个开口,液体可以流入和流出,能够直接利用液体从电池组中经过来降低电池温度。

▲特斯拉新专利中液冷系统截图
还有一种方法也可以降低电池的温度,将散热片和电池组装在一起,然后将电池密封起来,在电池外部贴上绝缘涂层。
第三种方法是各个电池单元之间采用相变材料来封装,这种材料会发生相变,在相变的过程中会吸收大量的热量,因此能够保持电池温度稳定,使用相变材料也可以使HVAC(供热通风与空气调节)设备的保持平均负荷。
结语:特斯拉逐步完善电池技术,或将要宣布生产电池
特斯拉今年以来频繁在动力电池方面做出动作,目前已经收购两家电池公司。年初收购的电池公司Maxwell拥有成熟的干电极制造工艺,而最近刚收购的电池公司Hibar则拥有完备的电池制造设备。
特斯拉此时推出这项新专利,这项专利必定会在不久之后应用到其收购的两家电池公司上面。这将会简化特斯拉的电池生产程序,同时所产的电池的成本将会大幅降低,电池的质量也会提高。
可以看出,特斯拉正在不断的更新自己的电池技术,正在为生产动力电池做准备。随着电池生产技术的不断提升与电池生产设备的不断完善,特斯拉应该会在不久之后宣布量产电池。

- 最新评论
- 我的评论