
影响锂电池性能的因素有很多,诸如材料种类、正负极压实密度、水分、涂布面密度及电解液用量等。其中水分对锂离子电池的性能有着至关重要的影响,水分是锂离子电池生产过程中需要严格控制的关键因素,水分过量时不但能够导致电解液中锂盐的分解并对正负极材料、集流体都有一定的腐蚀破坏作用,而且也导致电池的循环性能及安全性能的降低。但是痕量的水分又有重要的意义,下面具体介绍下水分对锂电池性能的影响。
一、水分过量的弊端
在三元/石墨体系电池制作过程中,正极浆料的制备一般会选用油系分散体系,采用PVDF作为粘结剂,NMP作为溶剂。PVDF遇到过量的水分会生成胶状的物质,导致浆料的流动性和流平性很差,不利于浆料的涂布。所以,在浆料制备时,必须注意原材料的水分含量、工作环境以及人员操作过程中水分的引入。
除了对锂电池浆料制备有巨大的影响外,水分过量会引起电解液的分解。反应如下所示:

氢氟酸是一种腐蚀性特别强的酸,会对锂电池正负极材料、集流体造成严重的破坏,最终导致电池出现安全性问题。
二、痕量水分的意义
但是,锂电池中并不是水分越少越好。大家知道,固体电解质界面(俗称SEI膜)是一层选择性透过膜,能使Li+自由透过,而电解液分子不能透过。电解液的组成和痕量的添加剂对SEI膜形成的电位、致密程度、电池不可逆容量损失、电池内阻等有显著的影响。而水作为电解液中一种痕量组分,对锂离子电池SEI膜的形成和电池性能有一定的影响。
三、水分对锂电池性能的影响
在不同的材料体系中,水分含量对电池的性能有很大的影响。但是,不变的是水分对锂电池的首次充放电容量、内阻、电池循环寿命、电池体积均有影响。下面以钴酸锂/石墨体系电池来举例说明。
1.对首次充放电容量的影响
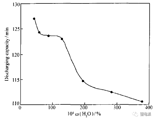
水分与锂电池中SEI的形成有关,必然会影响锂电池的首次不可逆容量损失。如图1所示:

图1.水分含量对电池充放电容量影响
在电池中水分小于0.015%时,电池首次放电容量符合国标且变化较小;在电池水分在0.015%~ 0.04%范围内时,电池首次放电容量随电池中水分的增加而减小。当电池中水分含量小于0.015%时,以下反应占主导。

单电子还原过程生成的烷基碳酸锂还可以与电解液中的痕量水发生反应,生成碳酸锂。
2ROCO2 Li+H2O →Li2CO3 +CO2 +2ROH
当生成CO2后, 在低电位下的负极表面,有新的化学反应发生:
2CO2+2Li+ +2e →Li2CO3 +CO
由此可见,适量水分有助于形成以Li2CO3为主、稳定性好、均匀致密的SEI膜。当SEI膜完全覆盖负极以后,不可逆反应立即停止。
当水分含量在0.0150%~ 0.04%范围内时,锂离子消耗量增多,电池充放电容量减少,对其有负面影响。
2.对电池内阻的影响
电池的内阻是电池最为重要的特性参数之一,是表征电池循环寿命和运行状态的重要参数,是衡量离子和电子在电池内传输难易程度的主要标志。内阻大小主要受电池材料、制造工艺、电池结构等因素的影响。内阻越小,电池放电时所占用的电压越小,输出的能量越多。对于长期存储的电池来说,内阻会随着存储时间的增加而升高,内阻超过一定值时会对电池的性能造成很大的影响。由于水分含量对锂电池中SEI膜的质量有影响,简介影响到了电池的内阻。
在EC/DMC /EMC 电解液溶剂体系中, 痕量的水能够形成以Li2CO3为主、稳定性好、均匀致密的SEI膜,其内阻较小。当水分含量多于体系形成SE I膜的所需含量时, 在SEI膜表面生成POF3和LiF沉淀, 导致电池内阻增加。如图2所示:

图2.水分含量对电池内阻的影响
3.对电池容量衰减的影响
水分含量影响到电池SEI膜的性质,如均匀性和致密程度等,当SE I膜均匀致密时, 电解液溶剂不易嵌入到负极中,占据Li+嵌入空位, 因此容量衰减很少。与此相反,当SEI膜的局部不致密、不均匀时, Li+嵌入空位被电解液溶剂占据相对较容易。Li2CO3是形成均匀致密SEI膜最主要的组分,EC /DMC /EMC 电解液溶剂体系中,适量的水能促进以Li2CO3为主的SEI膜的形成,当水分含量足够或者过量时,形成的SEI膜就越致密、均匀,溶剂嵌碳负极的概率就越小。这就是水分在0.015% ~ 0.04%范围内时, 电池容量衰减随水分含量增加而逐渐减小的原因。当水分小于0.015%时,在负极表面形成了较致密的SEI膜, 使溶剂嵌入维持在平衡状态。因此,电池容量衰减维持在比较稳定的状态。

图3.水分含量对电池容量衰减率的影响
4.对电池厚度的影响

图4.水分含量对电池厚度的影响
由图可以看出,随着水分含量的增加,电池的厚度也在变大。当水分含量这是由于在SEI 膜形成过程中会产生CO2、CO 等气体。并且当水分过量时,多余的水会继续与LiPF6反应产生HF 气体。电池内部产气量关系着电池的安全性,为避免电池出现严重的胀气问题,要严格控制电池内部的水分。

- 最新评论
- 我的评论